 |

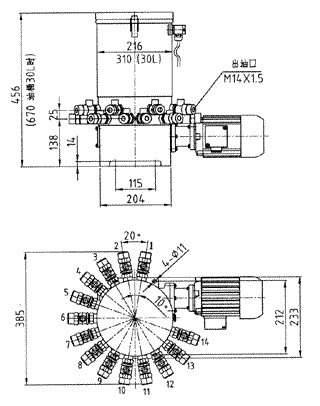
DDB型電動三輪多一些細膩泵是一個種注塞泵式細膩泵,帶齒輪t加速組裝線,排量較小,但是有1~14個冒油口時泵油。非常高目標任務水壓31.5MPa。憑借時冒油口的價值可盡情采用。各冒油口可隱性與細膩點毗連,成為多線細膩組裝線;也可在些外貿出口處配合片式分發器將細膩劑一定量地保研至各細膩點,就成為單線并列式細膩模式。DDB型泵傳動裝置社區便利店可簡易化非空子集細膩模式。它憑借于各小微型機械設備史詩裝備的非空子集細膩。
規格型號及手藝參數
規 格 型 號
|
公稱壓力MPa
|
每一個出油口出油量ml/min
|
貯油筒容積L
|
機電功率KW
|
利用光滑劑
|
出油口數
|
黏度
|
針入度
|
DDB-8L-1~14 |
31.5
|
1.7,3.2,5.3,9.6任選 |
8
|
0.18
|
≤N68 |
≥265 1/10mm(25°C) |
1~14
|
DDB-30L-1~14 |
30
|
|
|
|